Description
The jerrycan tractor mass compensates for the additional weight overload incurred when using rear or front attachments. They are compatible and adaptable with all brands.
Jerrycan weights
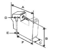
Dimensions
| 20kg | 27kg | 40kg |
![]() |
![]() |
![]() |
| Model | A (mm) | B (mm) | C (mm) | D (mm) | E (mm) | Dimensions |
|---|---|---|---|---|---|---|
| 20kg | 265 | 220 | 65 | 25 | 14 | 140x12 |
| 27kg | 100 | 340 | 150 | 50 | 150x15 | |
| 40kg | 265 | 220 | 65 | 25 | 14 | 150x15 |
Tractor-compatible








